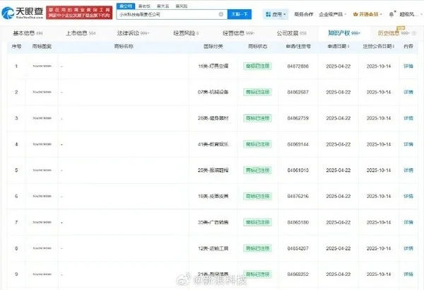
近日,小米正式发布并开源其最新大模型“MiMo-V2-Flash”,该模型凭借3090亿总参数、150亿活跃参数的MoE架构,以及深度思考、联网搜索等强大功能,迅速引发业界关注。与此同时,据天眼查等企业信息平台显示,小米科技有限责任公司已于今年4月申请注册了多枚“XIAOMI MIMO”商标,国际分类涵盖运输工具、科学仪器、通讯服务、广告销售等多个领域。目前,部分商标已通过初审或处于注册申请中。

商标布局的背后,是小米在AI大模型领域持续投入并取得实质性进展。据CNMO了解,最新开源的MiMo-V2-Flash模型,不仅在多项基准测试中表现优异,跻身开源大模型第一梯队,更以极高的性价比(每百万Token输入0.1美元)和高达150 tokens/秒的推理速度,展现出强大的工程化能力。该模型支持256K长上下文窗口,能完成数百轮复杂对话和工具调用,专为智能体(Agent)场景打造。


小米还同步推出了在线体验平台Xiaomi MiMO Studio,为用户提供包含深度与联网搜索在内的AI对话服务,降低了体验门槛。这一系列动作,从底层模型到应用平台,再到知识产权保护,构成了小米在AI赛道上一套完整的组合拳。
【来源:CNMO科技】
